RINGWALZEN

Mehrdorn-Ringwalzwerke KFRWt

Für die Produktion von kleinen sowie großen Ringserien mit einem Gewicht von bis zu 40 kg hat Banning® Ringwalzwerke konzipiert, die un-

terbrechungsfrei und mit sehr kurzen Zyklen arbeiten.

Bei diesen Maschinen kommt ein altbekanntes Maschinenkonzept mit vier Walzdornen und einer Hauptwalze zum Tragen. Die Walzdorne sind auf einem Drehtisch montiert, der sich exzentrisch um die Hauptwalze dreht. Auf diese Weise bewegt sich jeder Walzdorn zu der Hauptwalze hin und von der Hauptwalze weg, während er sich dreht. Die Maschine ist komplett Servo angetrieben und ermöglicht dadurch die Einstellung des exzentrischen Walzdorns (der die Wandstärke des Ringes definiert) elektromechanisch über das Steuerpult in 0,05 mm Schritten. Auch die Einstellung des Zentrierarms erfolgt elektromechanisch über das Steuerpult. Weiterhin erfolgt die Höhenregulierung der Walzdorne mechanisch unter der Maschine. Die mögliche automatische Einstellung an der Maschine erlaubt eine schnelle Produktionsänderung sowie eine Feineinstellung während der Produktion, ohne dass die Maschine gestoppt werden muss. Alle Produktionsparameter können für zukünftige Nutzung gespeichert werden. Im Vergleich zu früheren Modellen des Herstellers Wagner (KFRWt) ermöglicht das neue kinematische Design dieser Maschine eine Energieeinsparung von mindestens 20% sowie eine Reduzierung der Instandhaltungskosten.
Banning Mehrdorn-Ringwalzwerke KFRWt - Ansicht Banning Mehrdorn-Ringwalzwerke KFRWt Banning Mehrdorn-Ringwalzwerke KFRWt

Allgemeinen Technische Werte:

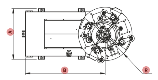
Typ 400 630 A 1300 1600 B 2100 2600 C 2800 3300 D 1700 2100 H 700 700 R 680 850
Hauptabmessungen
Typ 400 630 max. Durchmesser 350 450 max. Ringhöhe 50 70 max. Ringgewicht 8 22 Walzleistung 720 720 (bis zu) (Ringe/Stunde)
Der Ring
Die Vorteile dieses Maschinenkonzeptes sind die Wirtschaftlichkeit durch geringe Energiekosten und Automation, die Flexibilität durch schnellen Einsatz, schnellen Produktionswechsel und frei programmierbares Steuersystem, die Sicherheit durch einfache Bedienung und die Präzision durch hohe Walzgenauigkeit bezüglich der Wandstärken. Da die Volumenunterschiede des Ringes am Durchmesser verteilt sind, wird nach der Mehrdornwalzmaschine KFRWt in der Regel eine Kalibrierpresse zur Kalibrierung des Durchmessers installiert. Die Maschine ist kostengünstig und extrem produktiv.
Banning menu points
© 2021 BANNING ® powered by vikkiv-vision.com
Banning Mehrdorn-Ringwalzwerke KFRWt Download Folder on top Bannin Mehrdorn-Ringwalzwerke KFRWt - Ansicht oben Mehrdorn-Ringwalzwerke KFRWt
RINGWALZEN

Mehrdorn-Ringwalzwerke KFRWt

Für die Produktion von kleinen sowie großen

Ringserien mit einem Gewicht von bis zu 40 kg

hat Banning® Ringwalzwerke konzipiert, die un-

terbrechungsfrei und mit sehr kurzen Zyklen

arbeiten.

Bei diesen Maschinen kommt ein altbekanntes Maschinenkonzept mit vier Walzdornen und einer Hauptwalze zum Tragen. Die Walzdorne sind auf einem Drehtisch montiert, der sich exzentrisch um die Hauptwalze dreht. Auf diese Weise bewegt sich jeder Walzdorn zu der Hauptwalze hin und von der Hauptwalze weg, während er sich dreht. Die Maschine ist komplett Servo angetrieben und ermöglicht dadurch die Einstellung des exzentrischen Walzdorns (der die Wandstärke des Ringes definiert) elektromechanisch über das Steuerpult in 0,05 mm Schritten. Auch die Einstellung des Zentrierarms erfolgt elektromechanisch über das Steuerpult. Weiterhin erfolgt die Höhenregulierung der Walzdorne mechanisch unter der Maschine. Die mögliche automatische Einstellung an der Maschine erlaubt eine schnelle Produktionsänderung sowie eine Feineinstellung während der Produktion, ohne dass die Maschine gestoppt werden muss. Alle Produktionsparameter können für zukünftige Nutzung gespeichert werden. Im Vergleich zu früheren Modellen des Herstellers Wagner (KFRWt) ermöglicht das neue kinematische Design dieser Maschine eine Energieeinsparung von mindestens 20% sowie eine Reduzierung der Instandhaltungskosten.
Typ 400 630 A 1300 1600 B 2100 2600 C 2800 3300 D 1700 2100 H 700 700 R 680 850
Hauptabmessungen
Typ 400 630 max. Durchmesser 350 450 max. Ringhöhe 50 70 max. Ringgewicht 8 22 Walzleistung 720 720 (bis zu) (Ringe/Stunde)
Banning Mehrdorn-Ringwalzwerke KFRWt Banning Mehrdorn-Ringwalzwerke KFRWt
Der Ring
Banning menu points
© 2021 BANNING ® powered by vikkiv-vision.com
Banning® Mehrdorn-Ringwalzwerke KFRWt Download Folder
Die Vorteile dieses Maschinenkonzeptes sind die Wirtschaftlichkeit durch geringe Energiekosten und Automation, die Flexibilität durch schnellen Einsatz, schnellen Produktionswechsel und frei programmierbares Steuersystem, die Sicherheit durch einfache Bedienung und die Präzision durch hohe Walzgenauigkeit bezüglich der Wandstärken. Da die Volumenunterschiede des Ringes am Durchmesser verteilt sind, wird nach der Mehrdornwalzmaschine KFRWt in der Regel eine Kalibrierpresse zur Kalibrierung des Durchmessers installiert. Die Maschine ist kostengünstig und extrem produktiv.

Allgemeine technische Werte